进口自力式微压调节阀
一、进口自力式微压调节阀 产品概述
德国沃德WODE的进口自力式微压调节阀是一种无需外来能源的节能型产品,利用工艺管道中介质的压力变化与信号进行比较,使被调节介质的力与执行机构的输出力平衡,以达到稳定压力、差压值。采用平衡型单座阀,压力稳定、精度高、密封性好,用于控制微小差压。
自力式微压调节阀适用于各种工业炉燃烧系统控制两种燃料气体混合比流量或用于氢冷发电机组密封油系统中,同时,还可用于各种工业气体的减压、稳压或泄压的自动控制。在运行中可任意对设定值进行调整等特点。因而适用于各种工业炉燃烧统燃料气体、石油在制品或油库贮罐保护气体与热处理保护气体的微压自动调节等场合。
二、进口自力式微压调节阀 主要技术参数
公称通径DN | 20 | 25 | 32 | 40 | 50 | 65 | 80 | 100 | 125 | 150 | 200 | |
额定流量系数Kv | 7 | 11 | 20 | 30 | 48 | 75 | 120 | 190 | 300 | 480 | 760 | |
允许压差 | PN16 | 1.6 | 1.5 | 1.2 | ||||||||
PN40 | 2.0 | |||||||||||
阀盖形式 | 标准型 (整体式) | |||||||||||
压盖型式 | 螺栓压紧式 | |||||||||||
密封填料 | V型PTFE、PPL、石棉纺织填料、石墨填料 | |||||||||||
压力分段范围 | 0.5~6 5~10 9~15 12~19 18~25 22~30 | |||||||||||
保证调压阀正常工作的最小压差P | ≥0.01(MPa) | |||||||||||
工作温度 | ≤80℃ | |||||||||||
适合介质 | 气体、蒸汽、低粘度液体 | |||||||||||
阀芯形式 | 单座、套筒型阀芯 | |||||||||||
流量特性 | 直线性 | |||||||||||
注:用于氧气的调节阀德国沃德WODE阀门均选用不锈钢材质,并脱脂去油处理。
三、进口自力式微压调节阀 主要零件材料
零件名称 | 零件材料 | |||
阀体 | WCB | CF8 | CF8M | CF3M |
阀座 | 304 | 304 | 316 | 316L |
垫芯 | 304 | 304 | 316 | 316L |
阀盖 | Q235 | 304 | 316 | 316L |
阀杆 | 304 | 304 | 316 | 316L |
下膜盖 | Q235 | |||
膜片 | EPDM或FKM夹纤维 | |||
上膜盖 | Q235 | |||
压盖 | Q235 | |||
螺纹盖 | Q235 | |||
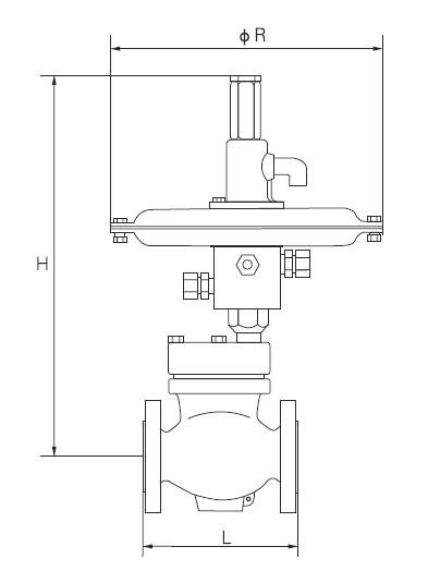
四、进口自力式微压调节阀 结构图

注:由于网站版面的原因,具体外形尺寸请致电沃德各代理商。
五、进口自力式微压调节阀主要性能指标
调节精度 | ≤10% | |||||||||||
允许泄露量 | 硬密封 | 4×0.01%阀额定容量 | ||||||||||
软密封 | DN(mm) | |||||||||||
20 | 25 | 32 | 40 | 50 | 65 | 80 | 100 | 125 | 150 | 200 | ||
0.15 | 0.3 | 0.45 | 0..6 | 0.9 | 1.7 | 4.0 | 6.75 | |||||
如有任何疑问.您可以致电给我们,我们一定会尽心尽力为您提供优质的服务!如果您有需要咨询更详细的产品信息;迎联系德国沃德WODE授权一级代理商:北京永德宝阀门有限公司
































冀公网安备13010402003046号