进口电动高温调节阀
(关键词:进口电动蒸汽调节阀,高温高压电动调节阀,导热油电动调节阀、550℃调节阀)
一、进口电动高温调节阀 产品概述
德国沃德WODE的进口电动高温调节阀具有关闭严密,结构紧凑,重量轻,维修方便等优点。是采用智能一体化执行器与高精度低流阻调节阀阀体组成。电动高温调节阀配以2SB系列(或者PSL系列)电动执行器和精小型调节阀体组成,内含饲服功能,接受统一的4-20mA或1-5V·DC的标准信号,将电流信号转变成相对应的直线位移,自动地控制调节阀开度,达到对管道内流体的压力、流量、温度、液位等工艺参数的连续调节。电动高温调节阀调节机构采用平衡式阀塞结构,电子式电动高温调节阀具有阀稳定性好,不易震动,噪音低,对温度敏感性小,允许使用压差不大、温度较大等特点。电动高温调节阀广泛使用于流量大,温度高,泄漏量要求不严格的场合。 广泛用于气体、液体、蒸汽、油品等腐蚀性介质的管道自动化控制中。

一、 进口电动高温调节阀 技术参数
公称通径(DN) | 20 | 25 | 32 | 40 | 50 | 65 | 80 | 100 | 125 | 150 | 200 | 250 | 300 | |
阀座直径(dn) | 20 | 25 | 32 | 40 | 50 | 65 | 80 | 100 | 125 | 150 | 200 | 250 | 300 | |
额定流量系数(KV) | 单座 | 6.9 | 11 | 17.6 | 27.5 | 44 | 69 | 110 | 176 | 275 | 440 | 630 | 875 | 1250 |
套筒 | 6.3 | 10 | 16 | 25 | 40 | 63 | 100 | 155 | 250 | 370 | 580 | 900 | 1300 | |
允许压差(MPa) | 单座 | 3.8 | 3.2 | 3.0 | 2.0 | 1.8 | 1.5 | 1.4 | 1.0 | 0,7 | 0.6 | 0.5 | 0.3 | 0.1 |
套筒 | 6.4 | 6.4 | 5.2 | 5.2 | 4.6 | 4.6 | 3.7 | 3.7 | 3.5 | 3.1 | 3.1 | 2.6 | 2.2 | |
公称压力(MPa) | 1.6、2.5、4.0、6.4、10.0、16.0、32.0或者Calss150~Class2500 | |||||||||||||
额定行程(mm) | 16 | 25 | 40 | 60 | 100 | |||||||||
阀盖形式 | 高温型(+250~+540℃) | |||||||||||||
压盖形式 | 螺栓压紧式 | |||||||||||||
密封填料 | V型PTFE、V型柔性石墨填料 | |||||||||||||
阀芯形式 | 单座式、套筒式、迷宫式 | |||||||||||||
流量特性 | 等百分比、直线型 | |||||||||||||
配置执行器类别 | 2SB系列、3810系列、PSL系列等电动执行器(客户指定品牌亦可) | |||||||||||||
执行器参数 | 电源电压:220V、输入信号:4-20mA或1-5V·DC、输出信号:4-20mA·DC | |||||||||||||
防护等级:相当IP65、隔爆标志:ExdⅡBT4(ExdⅡBT6特殊定制)、手操功能:手柄 | ||||||||||||||
环境温度:-25~+70℃、环境湿度:≤95% | ||||||||||||||
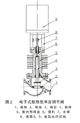
二、 进口电动高温调节阀 结构图
注:由于网站版面的原因,具体外形尺寸请致电沃德各代理商。
三、 进口电动高温调节阀 性能指标
项目 | 指标值 | ||
基本误差% | 配V3810L±2.5; 配PSL±1.0;配2SB±1.0 | ||
回差% | 配381L ±2.0; 配PSL±1.0;配2SB±1.0 | ||
死区% | 1.0 | ||
始终点偏差% | 电开 | 始点±2.5 | 终点±2.5 |
始点±2.5 | 终点±2.5 | ||
电关 | 始点 | ±2.5 | |
终点 | ±2.5 | ||
额定行程偏差% | ≤2.5 | ||
泄露量L/h | 0.01%×阀额定容量 | ||
可调范围R | 30:1 | ||
如有任何疑问.您可以致电给我们,我们一定会尽心尽力为您提供优质的服务!如果您有需要咨询更详细的产品信息;迎联系德国沃德WODE授权一级代理商:北京永德宝阀门有限公司
































冀公网安备13010402003046号