自动石墨水喷淋机主要应用于热锻造的模具表面冷却及模具型腔内的润滑,从而实现延长模具使用寿命,辅助锻压的功能,该设备采用自动式腔体结构设计,利用智能化控制系统完成对模具的雾化喷淋,并带用自动搅拌功能,自动参数调整功能,自动角度调整功能等智能化功能,采用不同的机体安装方式,满足不同客户的场地需求。
整机采用304不锈钢材料制作,主体机构由石墨水储存箱,清水箱,储气罐,石墨水储蓄罐,电气装置,自动搅拌装置等重要部分组成。
滑台式喷水机构以及悬臂型喷水机构,位移机构均采用高速高精度伺服电机,搭载大扭矩减速机,带有电磁抱闸功能,可以实现高速,高精度,多位置控制模式。
气缸型喷水机构采用高速高精度无杆气缸或旋转气缸,可实现高速,高精度的集中喷淋模式。
公司主营锻压辅助设备,中高频上料机,自动氧化皮处理机,输送带,预热机等锻压行业附属设备。
序号 | 设备类别 | 安装方式 | 适用范围 | 设备特点 |
1 |
滑台式石墨水喷淋机-电机型 | 外置,设备可摆放在压力机背部,喷淋移动机构与水箱等机构为一体。 | 适用长模,宽模,以及需要多点喷淋的模具。滑台行程可根据不同类型压力机进行个性化定制。 | 采用高精度丝杆以及高速伺服电机可实现多位置,高速高精度的喷淋石墨水,喷淋时间自由调节。喷淋范围可根据模腔实际情况调节设定开始喷淋点,结束喷淋点。喷淋时水气比例可自由调节。在设备待机停机状态,喷淋机构将缩回折叠节省用户空间,大限度实现人性化。 |
2 |
悬臂式石墨水喷淋机-电机型 | 背装式,设备固定在压力机背部,喷淋移动机构与水箱等结构分离安装。 | 适用长模,圆模,以及需要多角度喷淋的模具。旋转角度可根据不同类型压力机进行不同设置。 | 采用高角度旋转平台搭载大扭矩减速机搭配高速伺服电机可实现多位置,高速高精度的喷淋石墨喷淋。 喷淋时间自由调节。喷淋范围可根据模腔实际情况调节设定开始喷淋点,结束喷淋点。喷淋时水气比例可自由调节。在设备待机停机状态,喷淋机构将退出旋转至压力机背部。节省用户空间,大限度实现人性化。 |
3 |
悬臂式石墨水喷淋机-气缸型 | 适用圆模,以及不需要多角度喷淋的模具。旋转角度为90° | 采用大扭矩高速高精度旋转气缸可实现单一角度单位置的集中的喷淋石墨。喷淋时水气比例可自由调节。喷淋时间自由调节。在设备待机停机状态,喷淋机构将退出旋转至压力机背部。节省用户空间,大限度实现人性化。 | |
4 |
直线式石墨水喷淋机-气缸型 | 适用圆模,以及不需要多角度喷淋的模具。行程根据模腔大小可个性化定制。 | 采用高速高精度无杆气缸可实现单一角度单位置的左右小范围摇摆集中的喷淋石墨。喷淋时水气比例可自由调节。喷淋时间自由调节。在设备待机停机状态,喷淋机构将退出模腔。 | |
5 | 直线式石墨水喷淋机-电机型 | 适应长模以及圆模可以满足多种方式的喷淋 | 采用高速高精度无杆气缸搭配伺服电机可实现单多位置的左右范围摇摆集中的喷淋石墨。喷淋时水气比例可自由调节。喷淋时间自由调节。在设备待机停机状态,喷淋机构将退出模腔。 |
产品安装效果展示


悬臂式石墨水喷淋机效果图(气缸型安装方式相同)


3. 直线式石墨水喷淋机效果图


滑台式石墨水喷淋机结构说明

设备部件功能说明:
(1)喷头模块:自主研发高精密腔体,可有效雾化石墨水,实现模具腔体的润滑和降温。
(2)前直臂:安装喷头模块,并连接管理搭配角度调节钣金实现角度调节。
(3)角度调节钣金:调节前直臂喷淋角度。
(4)中直臂:连接前直臂与后直臂并用于安装角度调节钣金。
(5)角度调节钣金:调节后直臂与中直臂角度。
(6)后直臂:连接尾端旋转轴。
(7)尾端旋转轴:连接喷淋机构并搭配移动气缸在设备工作时旋转移动至工作位置,停机时旋转至待机位置。
(8)高度调节模块:采用高精度丝杆搭配手轮。用于调节喷淋高度,可根据不同模腔的喷淋高度进行有效调节。
(9)滑台模块:设备运动的动力装置,采用高速高精度丝杆搭配伺服电机实现快速精准多点位喷淋石墨水。
(10)电机安装仓:安装伺服电机。
(11)阀体安装仓:安装气阀,水阀,以及隔膜泵等辅助元件。
(12)脚轮:便于用户快速移动设备。
(13)清水箱:储蓄喷头模块自动清洗时所用的清水。
(14)外接气路接头:连接外置手动石墨水喷淋或其他用。
(15)气压显示表:显示当前设备气压,当设备气压到达标准气压值时,设备才可以正常运行。
(16)控制箱:用于安装设备控制用电器器件。(气缸运动型不设有控制箱)
(17)人机交互设备:设置设备运行参数以及监视当前设备运行状态。
(18)操作面板:用于控制设备的启动停止模式以及急停,方便参数设定时的模拟使用。
(19)石墨水箱搅拌电机:用于石墨水箱的搅拌,防止石墨水沉淀凝固造成管路堵塞(正常情况下,开机默认为开始搅拌状态,如需停止请切换至手动模式点击人机交互设备手动模式页面进行暂停)。
(20)石墨水箱:用于储存石墨水,可通过打开顶端钣金盖进行添加(正常情况应每日进行检查当前石墨水箱剩余水量)。
(21)调节脚垫:调节设备安装高度以及调平设备运行高度。
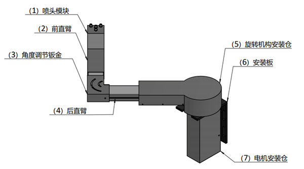
悬臂式石墨水喷淋机结构说明(气缸型结构相类似)

设备部件功能说明:
(1)喷头模块:自主研发高精密腔体,可有效雾化石墨水,实现模具腔体的润滑和降温。
(2)前直臂:安装喷头模块,并连接管理搭配角度调节钣金实现角度调节。角度调节钣金:
(3)角度调节钣金:调节前直臂与后直臂角度。
(4)后直臂:连接旋转机构带动喷头模块移动。
(5)旋转机构安装仓:安装高速高精度旋转平台。
(6)安装板:用于连接设备与压力机。
(7)电机安装仓:安装伺服电机。
直线式石墨水喷淋机结构说明

设备部件功能说明:
(1)安装背板:用于连接自动喷淋设备以及压力机。
(2)升降调节支架:通过调节升降支架上的手轮调节设备安装高度。
(3)设备安装支臂:用于安装自动喷淋设备主体。
(4)设备前后调节座:用于调节自动喷淋设备前后距离补偿。
(5)运动相关部件安装仓:仓体内安装无杆气缸以及位置检测传感器和平衡光杆及其滑块。
(6)设备辅助支撑支臂:用于加强设备工作稳定性。
(7)喷头模块:自主研发高精密腔体,可有效雾化石墨水,实现模具腔体的润滑和降温。
(8)伸缩直臂:用于带动喷头模块伸缩运动。
通用水箱A结构说明
悬臂型以及滑台型等四种机型采用通用性水箱结构,气缸动作方式的设备除未安装控制箱以外其他器件均与电机型相同。

(1)控制箱:用于安装设备控制用电器器件。(气缸运动型不设有控制箱)
(2)人机交互设备:设置设备运行参数以及监视当前设备运行状态。(气缸运动型人机交互设备安装与控制操作箱中)
(3)操作面板:用于控制设备的启动停止模式以及急停,方便参数设定时的模拟使用。(气缸运行型不设有该操作面板)
(4)清水箱:储蓄喷头模块自动清洗时所用的清水。
(5)阀体安装仓:安装气阀,水阀,以及隔膜泵等辅助元件。
(6)气压/水压指示仪:显示当前设备气压/水压,当设备气压/水压到达标准值时,设备才可以正常运行。
(7)石墨水搅拌电机:用于石墨水箱的搅拌,防止石墨水沉淀凝固造成管路堵塞(正常情况下,开机默认为开始搅拌状态,如需停止请切换至手动模式点击人机交互设备手动模式页面进行暂停)。注意:气缸运动型为气动搅拌机装置。
(8)石墨水箱:用于储存石墨水,可通过打开顶端钣金盖进行添加(正常情况应每日进行检查当前石墨水箱剩余水量)。
(9)调节脚垫:调节设备安装高度以及调平设备运行高度。
通用水箱B结构说明

(1)控制箱:用于安装设备控制用电器器件。(气缸运动型不设有控制箱)
(2)阀体泵体搅拌机安装仓:安装气阀,水阀,搅拌机,以及隔膜泵等辅助元件。
(3)清水箱石墨水箱:用于储存石墨水,以及清水可通过打开钣金盖进行添加(正常情况应每日进行检查当前水箱剩余水量)。
(4)人机交互设备:设置设备运行参数以及监视当前设备运行状态。(气缸运动型人机交互设备安装与控制操作箱中)
(5)设备对接航空插:用于对接外部的设备如按钮控制箱,以及伺服电机等。
(6)水气快速对接板:用于快速对接水气接头,需要根据实际功能,进行连接。


































冀公网安备13010402003046号