
产品名称:铰链型波纹补偿器
公称通径:DN50~DN3000(mm)
设计压力:0.1~2.5 (Mpa)
设计温度:-20~450 ℃
材 质:SUS304, SUS321, SUS316L,SUS310s
连接方式:法兰/ 焊接
铰链型波纹补偿器简介:
角向铰链型补偿器由波纹管、端管相连的铰链板组成的挠性部件。一般为两个角向铰链型或两个万向铰链型与一个角向铰链一起配套组使用,适用于"L"型和"Z"型管系中,主要以角偏转的方式补偿多平面弯曲管段的合成位移。由于销轴和铰链板能承受压力推力和其他附加外力的作用,膨胀节自身吸收内压推力,不会对管道产生外力,因此管道支撑的设置可以简化。为保证客户未来产品使用无缺陷,我司出厂所有角向铰链型产品铰链板厚度达到安全要求,保证承受未来工作过程中造成的重大管道压力推力。
角向铰链型波纹管膨胀节性能特点: 单式铰链型波纹膨胀节通过其角度的变化来吸收管线、输送通道或容器等沿其轴向方向因热膨胀或收缩所引起的角向位移。通常两件或三件组合使用,补偿量与两件产品间距离成正比,其优点是体积小,重量轻,产品压力推力由铰链构件承受, 角向铰链波纹补偿器可以补偿管线在任意方向的角位移。
角向铰链型波纹管膨胀节应用范围: 主要应用于各种复杂管系,补偿管系的角向位移,如L型管道、Z型管道、U型管道等。

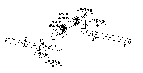
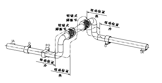
在Z管道中应用两个铰链式膨胀节元件可以吸收管道系统中的大量热膨胀位移膨胀节可以通过预冷紧(在偏移位置上预设)来使其能够达到位移量。支管中的热膨胀已经被管道水平运动中的自然弹性所吸收。压力推力已经被铰链所限制,这时可以使用中间支架。平面管系支架可以使支管做如图所示的摇摆式位移。
对于控制(L1)和(L2)位移是非常好的做法。如图所示,平面导管装置允许补偿架在它的位移弧范围内摆动。
平面外双铰链波纹膨胀节系统应用

如图所示的双铰链膨胀节通常用于管道系统穿越车道或者铁路线时,往往是由管道桥或者格架支撑。铰链被设计应用于支撑两个膨胀节间中间接管和系统中所产生的压力推力。铰链式膨胀节可以冷紧,这大大加强了膨胀节自身的位移能力。
铰链型波纹管膨胀节的铰链装置

在长的管线系统中,使用膨胀节的数量可以因将管道设计成U型管道并应用4个铰链式装置而减少(如图所示)。管道中的压力后被保持在范围内,与安装管线圈的系统相比,可以减少管线支架的数量。U型管道中的中间支架将整个系统分成相同的两个延伸部分。冷紧可以增加膨胀节的位移量。
江苏中鑫波纹管有限公司专业生产补偿器、膨胀节、挡板门、金属软管等产品。欢迎广大客户咨询订购!
































冀公网安备13010402003046号