专门从事粉体分级设备研发及生产制造型企业,其研究开发的TS系列粉煤灰分级机在全国很多家电厂及经营粉煤灰的企业得到了广泛的使用。并且在大型化方面走在了同行业的前列,能够生产出处理量达200T/H ,TS系列煤灰分选机是在O-Sepa选粉机的技术基础上,经消化吸收、自主创新开发成功的一种新型分级设备,其分级效率达到90%以上,料气比达到2.0~2.5Kg/m3干空气。
一、与现行涡轮分级机相比具有以下突出的优点:
1、涡轮分级机存在边壁效应:现行的涡轮分级机只相当于在旋风筒中部增加了一只旋转的涡轮装置,混合煤灰的含尘气体切向进入旋风筒后即产生高速旋转,粗颗粒在离心力的作用下被抛向壁面落下,同时由于边壁效应的影响,靠近筒壁的细灰也在离心力的作用下被抛向筒壁混入粗灰中,造成细灰分选不干净。
2、气流旋转存在速度梯度:由于分级区域是涡轮外缘与筒壁之间的环形区域,气流仅从一个切向进风口进入,因此在进风口区域气体速度较高,而远离进风口则气流速度较低,这就形成了环形分级区内流场不稳定,从而影响分级效率。
3、形成不了平面涡流:现行涡轮分级机的涡轮仅是一个简单的直笼形转子,无水平隔板,分级叶片也是用扁钢做成,从而使形成的旋转气流不是平面涡流,而是螺旋气流,并且在笼子上部吸进气体的流速较快,而下部吸进的气流速度要慢些,因而影响分级效率。
4、不能有效地对粗灰进行清洗,现行的涡轮分级机在分级筒的下部设计了切向进入的二次风对粗灰进行清洗,而这股二次风如果风速很高,很容易将下落的粗灰大量扬起,从而抗干扰分级区上部的物料分级,如果风速较低,则起不到对粗灰的清洗作用。
二、工作原理:
在工作状态下,调整电机通过传动装置带动传动轴转动,物料通过设在选粉室上部的进料口进入选粉室内,再通过设置在中粗粉收集锥的上下两锥体之间和通粉管道落在撒料盘上,撒料盘随辛辛苦苦传动轴转动,物料在惯性离心力的作用下,向四周均匀撒出,分散的物料在外接风机通过进风口进入选粉室的高速气流作用下,物料中的粗重颗粒受到惯性离心力的作用被甩向选粉室的内壁面。碰撞后失去动能沿壁面滑下,落到精粉收集锥中,其余的颗粒被旋转上升的气流卷起,以过大风叶的作用区时,在大风叶的撞击下,又有一部分粗粉颗粒被报恩到选粉室的内壁面,碰撞后失去动能沿壁面滑下,落到粗粉收集锥中。
中粗粉和细粉通过大风叶后,在上升气流的作用下,继续上升穿过立式导向叶片进入二级选粉区。含尘气流在旋转的笼型转子形成的强烈而稳定的平面涡流作用下,使中粗粉在离心力的作用下被抛向立式导向叶片后失去动能,落到中粗粉收集锥中,通过中粗粉管排出。符合要求的细粉穿过笼型转子进入其内部,随循环风进入低阻型旋风分离器中,随后滑落到细粉收集锥内成为成品。

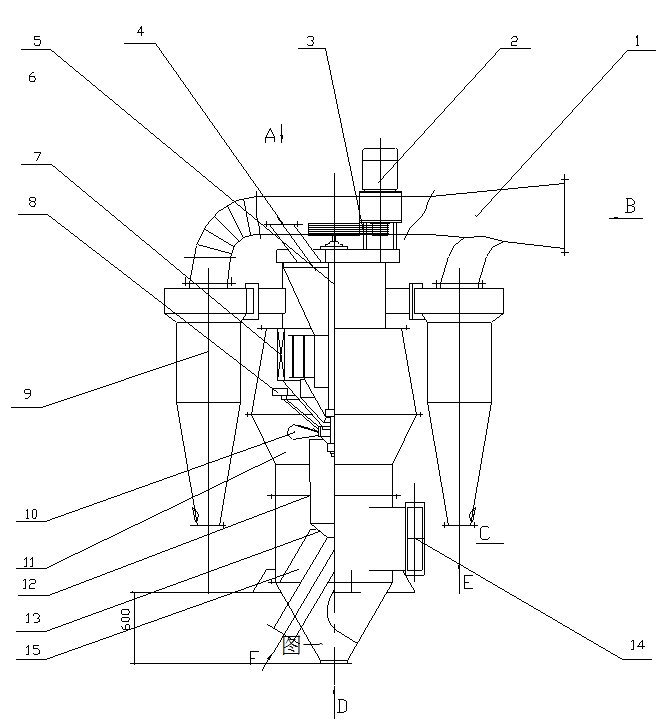
1、出风口 2、调速电机 3、传动装置 4、物料进口 5、立式传动轴 6、转子叶片 7、笼形转子 8、立式导向叶片 9、旋风分离器 10、撒料盘 11、分选室 12、中粗灰收集锥 13、中粗灰管 14、进风口 15、 粗灰收集锥
三、其特出优点在于:
1、设计的直笼转子是一个由多层水平隔板与竖直异形分级叶片组成的笼形转子,水平隔板使分级区域的气流形成稳定的水平涡流,异形分级叶片使得从笼子表面进入笼子内部的分级气流在任何一点都保持相同的流速,其相对速度差<5%,因此分级区域的流场均匀而稳定,因而分级精度很高。
2、在笼形转子与外部壳体之间的中间部位均匀布置了若干块带“凹”字形槽的导向叶片,含尘气体须从导向叶片之间的约15mm左右的若干条缝隙沿切向进入由导向叶片与笼形转子组成的环形分级空间,由于导向叶片的存在消除边壁效应,粗灰中细灰的含量大大降低,分级效率大幅度提高。
3、落入粗灰斗中的粗灰受下部上升气流的冲洗,粗灰中的细灰再次被带入到分级区进行分级。
4、由于流场均匀稳定,气流旋转速度较高,所产生的离心力和气流向心吸力都很强,因而分级精度很高,并且料气比可达到2.0~2.5,较涡轮分级机的料气比(0.7~1.0)要高出2~3倍,分级的用风量仅是涡轮式分级机的一半,因而系统能耗大大降低,处理能力达60T/H的分级系统能耗仅120KW,处理能力达40T/H的分级系统能耗仅100KW。
四、产品规格性能































冀公网安备13010402003046号